2. Auswertung der Augerelektronenspektren
Im folgendem sollen als Unterstützung und Ergänzung der Thermodesorptionsdaten Augerelektronenspektren ausgewertet werden. Dabei wurden sowohl für das Substrat als auch für das Adsorbat je zwei Augerübergänge untersucht.
2.1 Die Übergänge Re (176eV) und Kupfer (920eV)
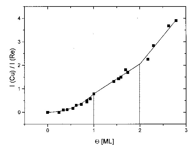
Wie in II.5 beschrieben, wurden die Peak-zu-Peak-Abstände bestimmter Zustände der differenzierten Augerelektronenspektren ausgemessen. Diese sind als Funktion des Bedeckungsgrades für das Substrat (Rhenium) und das Adsorbat (Kupfer) gemeinsam aufge-tragen worden (s. Abb.46).
Abbildung 46 Relative Augerintensitäten des Systems Cu/Re(0001)
Erwartungsgemäß zeigt die Kurve für das Rhenium einen abfallenden und die für das Kupfer einen ansteigenden Verlauf. Bei einer Bedeckung von Q=1ML ist besonders in der Rhenium-Kurve ein Steigungsbruch zu erkennen. Daß in der Kupferkurve kein Steigungsbruch bei Q=1ML auftritt, könnte an der geringen Intensität und dem damit verbundenem schlechten Signal-zu-Rausch-Verhältnis liegen. Dieser Effekt wurde auch von He et al [HEG90] beobachtet. Auch bei Q=2ML ist ein, wenn auch nicht so stark aus-gebildeter, weiterer Steigungsbruch zu erkennen. Ein aussagekräftigeres Bild liefern besonders die Darstellungen der Intensitätsverhältnisse als Funktionen der Bedeckung, aber auch die der Augerintensität des Adsorbates als Funktion der Augerintensität des Substrates (Abb.47, Abb.48).

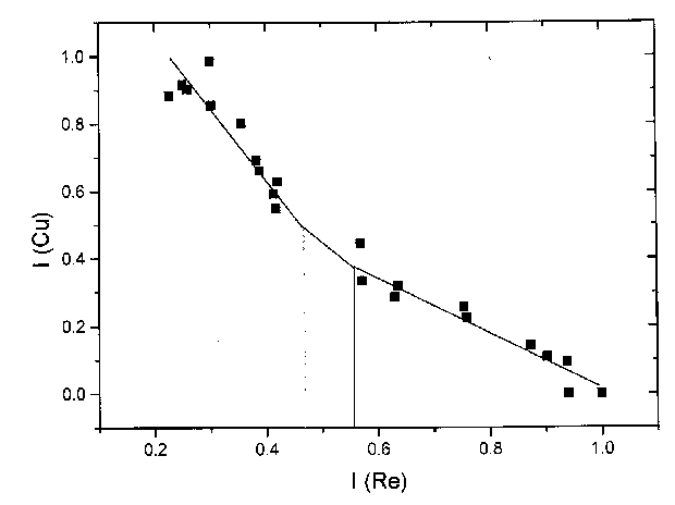
Abbildung 47 AES-Intensitätenverhältnis für das Systems Cu/Re(0001), Abbildung 48 Relative Augerintensitäten des Systems Cu/Re(0001)
In der Darstellung der Intensitätsverhältnisse sind im Bereich von einer bis drei Lagen zwei Abschnitte mit annähernd linearem Verlauf zu erkennen. Bei Q=2ML liegt ein starker Steigungswechsel vor. Im Monolagenbereich ist die Kurve nicht linear, He et al beschreiben diesen Anstieg als exponentiell und erklären ihn durch den vorliegenden Phasenübergang [HEG90].
2.2 Die Übergänge Re (33eV) und Kupfer (60eV)
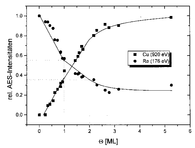
Um Effekte auszuschließen, die von der energetischen Lage der Augerübergänge abhängig sind, wurden ein weiterer Adsorbat- und ein Substrat-Übergang untersucht (s. Abb.49).
Abbildung 49 Relative Augerintensitäten des Systems Cu/Re(0001)
Auch hier ist der gleiche Verlauf wie in Abb.46 zu erkennen. Die Intensität des Kupfersignals bleibt ab etwa Q=4ML gleich, was eine konstante Wachstums-morphologie kennzeichnet. Die Intensität des Rheniumsignals nimmt konstant ab, hat aber bei einer Bedeckung von Q=12ML immer noch einen Anteil von 20% der Intensität der reinen Rheniumoberfläche. Durch eine relativ offene Struktur (z.B. von Kupferkristalliten) können die Augerelektronen aus dem Rhenium offenbar selbst bei so hohen Bedeckungen noch zum Analysator gelangen, ohne vollständig durch Wechsel-wirkungen mit den Kupferatomen abgefangen zu werden.
2.3 Die mittlere freie Weglänge der Augerelektronen
Aus Abb.46 wurde die relative Substratintensität (der Durchdringungskoeffizient) a=0,55 entnommen. Nach Gleichung (58) ist daraus die mittlere freie Weglänge der Augerelektronen berechnet worden. Es ergibt sich ein Wert von 1.25 Atomlagen. Legt man den Gitterabstand a2 (Tab.2) zugrunde, ergibt sich eine Länge von 5,5Å.
Dieser Wert ist ein Maß für die Oberflächenempfindlichkeit der angewendeten Analysenmethode. Gleichzeitig kann er als Bestätigung des unter 1.3.2 beschriebenen Wachstumsmoduses gelten. Den Augerelektronen ist es nicht möglich, sich durch eine große Anzahl von geschlossenen Atomlagen zu bewegen. In Abb.49 ist aber ein Signal noch bei einer Bedeckung von fünf Monolagen zu erkennen. Ein vollständiges Lagenwachstum (FM-Modus) kann somit als sehr unwahrscheinlich bezeichnet werden.
Aus allen drei Darstellungen können (auch in Übereinstimmung mit den Thermodesorp-tionsdaten) folgende Informationen gewonnen werden: